Additional Information – 4-Leg Uni-Loc® Bridle Slings
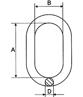
Rigger’s Choice® Alloy Master Sub-Assemblies orange-red, marked with size, grade, batch code, CE Mark and UR for Unirope. Nominal inch dimensions ! For exact values please contact us. |
| Standard for 1/4” to 1-1/4” | |||
|---|---|---|---|
| Sling Dia. | D | A | B |
| 1/4, 5/16 | 7/8 | 7 | 3 |
| 3/8, 7/16 | 7/8 | 7 | 3 |
| 1/2, 9/16 | 1-1/8 | 10-5/8 | 5-1/2 |
| 5/8 | 1-1/4 | 10-5/8 | 5-1/2 |
| 3/4 | 1-3/4 | 13 | 7 |
| 7/8 | 1-3/4 | 13 | 7 |
| 1 | 2 | 13-3/4 | 7-1/2 |
| 1-1/8 | 2-1/2 | 13-3/4 | 8-5/8 |
| 1-1/4 | 2-1/2 | 17 | 8-5/8 |
Rigger’s Choice® Alloy Master Links, orange-red, marked with size, grade, batch code, CE Mark and UR for Unirope. Nominal inch dimensions ! For exact values please contact us. |
| Standard on 1-3/8” and up, Optional for 1/4” to 1-1/4” | |||
|---|---|---|---|
| Sling Dia. | D | A | B |
| 1/4, 5/16 | 3/4 | 5-1/2 | 3-1/8 |
| 3/8 | 7/8 | 6-1/4 | 3-3/4 |
| 7/16 | 1-1/8 | 7 | 3-7/8 |
| 1/2 | 1-1/4 | 9-7/16 | 5-1/2 |
| 5/8 | 1-1/2 | 9-7/8 | 5-7/8 |
| 3/4 | 1-3/4 | 12 | 6 |
| 7/8 | 2 | 14 | 7 |
| 1 | 2-1/4 | 16 | 8 |
| 1-1/8 | 3 | 18 | 9 |
| (*)1-1/8 | 2 | 14 | 7 |
| (*)1-1/4 | 2-1/4 | 16 | 8 |
| (*)1-3/8 | 2-1/2 | 16 | 8 |
| (*)1-1/2 | 3 | 18 | 9 |
| (*)1-3/4 | 3-1/2 | 24 | 12 |
|
(*)no thimbles in Master Link
|
|||
| Standard Sling Components | ||||||||||
|---|---|---|---|---|---|---|---|---|---|---|
| Sling Dia. Inch |
Single Leg WLL vert. tons |
Shackle Size Nominal |
Shackle WLL Tons |
Shackle Pin. Dia. Inch |
Eye Hook Unirope Tons |
Eye Hook S 320 Tons |
Swivel Hook Unirope Tons |
Swivel Hook S322 Tons |
Self Locking Hook Size mm |
Self Locking Swivel Hook Size mm |
| 1/4 | 0.65 | 5/16 | 0.75 | 0.38 | 2 A | 0.75 C | 0.75 C | 0.75 C | 6 | 6 |
| 5/16 | 1.0 | 3/8 | 1.0 | 0.44 | 2 A | 1 C | 1 C | 1 C | 6 | 6 |
| 3/8 | 1.4 | 7/16 | 1.5 | 0.50 | 2 A | 1.5 C | 1.5 C | 1.5 C | 8 | 8 |
| 7/16 | 1.9 | 1/2 | 2.0 | 0.63 | 3 A | 2 C | 2 C | 2 C | 8 | 8 |
| 1/2 | 2.5 | 5/8 | 3.25 | 0.75 | 3 A | 3 A | 3 A | 3 A | 10 | 10 |
| 9/16 | 3.2 | 5/8 | 3.25 | 0.75 | 5 A | 5 A | 5 A | 3 C | 10 | 10 |
| 5/8 | 3.9 | 3/4 | 4.75 | 0.88 | 5 A | 5 A | 5 A | 5 A | 13 | 13 |
| 3/4 | 5.6 | 7/8 | 6.5 | 1.00 | 7 A | 7 A | 7 A | 7 A | 13 | 13 |
| 7/8 | 7.6 | 1 | 8.5 | 1.13 | 11 A | 11 A | 11 A | 11 A | 16 | 16 |
| 1 | 9.8 | 1-1/4 | 12.00 | 1.38 | 11 A | 11 A | 11 A | 11 A | 19 | 19 |
| 1-1/8 | 12 | 1-1/4 | 12.00 | 1.38 | 15 A | 15 A | 15 A | 15 A | 19 | 19 |
| 1-1/4 | 15 | 1-1/2 | 17 | 1.63 | 15 A | 15 A | 15 A | 15 A | 22 | 22 |
| 1-3/8 | 18 | 1-3/4 | 25 | 2.00 | 22 A | 22 A | 22 A | 22 A | 26 | — |
| 1-1/2 | 21 | 1-3/4 | 25 | 2.00 | 22 A | 22 A | 22 A | 22 A | 26 | — |
| 1-3/4 | 28 | 2 | 35 | 2.25 | — | 30 A | 30 A | 30 A | — | — |
| 2 | 37 | 2-1/2 | 55 | 2.75 | — | 37 A | 37 A | — | — | — |
| 2-1/4 | 44 | 2-1/2 | 55 | 2.75 | — | 45 A | 45 A | — | — | — |
| 2-1/2 | 54 | 2-1/2 | 55 | 2.75 | — | 60 A | 60 A | — | — | — |
| 3 * | 77 | 3 | 85 | 3.30 | — | — | — | — | — | — |
| * shackle is Bolt type. | ||||||||||



