Product Features

  • Converts overhead crane into lift truck.
  • Pry bar adjustable forks to handle multiple pallet sizes.
  • Counter balanced to hang level when empty.
  • Complies with ASME standards.

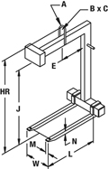
Product Specifications


Model 91 Specifications
Dimensions shown in inches, unless noted.
Model Number Capacity (tons) L M N W - Min. W - Max. E A B C J* HR Weight (lbs)
91-1-36 1 36 2 2 16 38 18 1 3 5 48 58 670
91-1-42 1 42 2 2 16 38 21 1 3 5 48 58 760
91-1-48 1 48 2 2 16 38 24 1 3 5 48 59 780
91-1 1/2-36 1-1/2 36 3 2 16 38 18 1 3 5 48 59 845
91-1 1/2-42 1-1/2 42 3 2 16 38 21 1 3 5 48 59 900
91-1 1/2-48 1-1/2 48 3 2 16 38 24 1 3 5 48 60 950
91-2-36 2 36 3 2 16 38 18 1 3 5 48 60 980
91-2-42 2 42 4 2 16 38 21 1 3 5 48 60 1060
91-2-48 2 48 4 2 16 38 24 1 3 5 48 59-1/2 1080
91-3-42 3 42 4-1/2 2-1/2 16 38 21 1-1/2 4 7 48 61-1/2 1250
91-3-48 3 48 4-1/2 2-1/2 16 38 24 1-1/2 4 7 48 61-1/2 1368
91-3-54 3 54 4-1/2 2-1/2 16 38 27 1-1/2 4 7 48 63 2005
91-4-48 4 48 5 3 19 38 24 1-1/2 4 7 48 64 1600
91-4-60 4 60 5 3 19 38 30 1-1/2 4 7 48 64 2240
91-5-48 5 48 5 3 19 38 24 1-1/2 4 7 48 65 1865
91-5-60 5 60 4-1/2 2-1/2 19 38 30 1-1/2 4 7 60 77 2190
* We recommend an additional 3 - 4" clearance above the load for ease of loading and unloading the lifter.