Plate Lifter
The Strong-Bac® Plate Lifter provides a quick and easy solution for handling thick plates, one at a time. Simply position the Plate Lifter over your load, check to see that the hooks are engaged and lift.
Product Features
- Rugged-chain rigging.
- Heavy duty plate hooks.
- Design allows for easier crane alignment.
- Steel spreader stabilizes two hooks.
- Complies with ASME standards.
Product Specifications

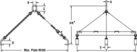
| Model PL Specifications | ||||||||||
|---|---|---|---|---|---|---|---|---|---|---|
| Model numbers shown in red are part of our QUICKSHIP program. | ||||||||||
| Model Number | Capacity (tons) | A (in.) | B (in.) | C (in.) | D (in.) | E (in.) | F (in.) | HR (in.)* | Max Plate Width (in.) | Weight (lbs.) |
| PL-5 | 5 | 1 | 3.5 | 6 | 3 | 2.3 | 84 | 58 | 96 | 185 |
| PL-10 | 10 | 1.25 | 4.38 | 7.5 | 5 | 3.8 | 84 | 58 | 96 | 320 |
|
* Headroom dimension is at maximum plate width. Note: Headroom will increase as plate width decreases.
|
||||||||||



