Product Features

  • Hand wheel adjustable forks for ease of adjustment.
  • Forged forks allow for smaller fork sizes.
  • Double frame design for heavy capacities.
  • Complies with ASME standards.

Product Specifications



Model 97 Specifications
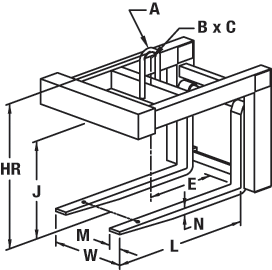
Model Number Capacity (tons) L (in.) M (in.) N (in.) W Min (in.) W Max (in.) E (in.) A (in.) B (in.) C (in.) J (in.)* HR (in.) Weight (lbs)
97-7 1/2-48 7-1/2 48 6 2-1/2 20 48 24 2 5 9 48 66 2600
97-7 1/2-60 7-1/2 60 6 3 20 48 30 2 5 9 60 77-1/2 3500
97-7 1/2-72 7-1/2 72 6 3 20 48 36 2 5 9 60 80 3950
97-10-48 10 48 6 3 20 48 24 2 5 9 48 65-1/2 3150
97-10-60 10 60 6 3 20 48 30 2 5 9 60 77-1/2 3850
97-10-72 10 72 7 3 20 48 36 2 5 9 60 82 4250
97-12 1/2-48 12-1/2 48 6 3 20 48 24 2 6 12 48 82 4200
97-12 1/2-60 12-1/2 60 6 3 20 48 30 2 6 12 60 82 4950
97-12 1/2-72 12-1/2 72 7 3-1/2 20 48 36 2 6 12 60 82 5750
97-15-60 15 60 7 3-1/2 20 48 30 2 6 12 60 82 5300
97-15-72 15 72 8 3-1/2 20 48 36 2 6 12 60 82-1/2 6400
* We recommend an additional 3"-4" clearance above the load for ease of loading and unloading the lifter.